王健林,突传新消息!


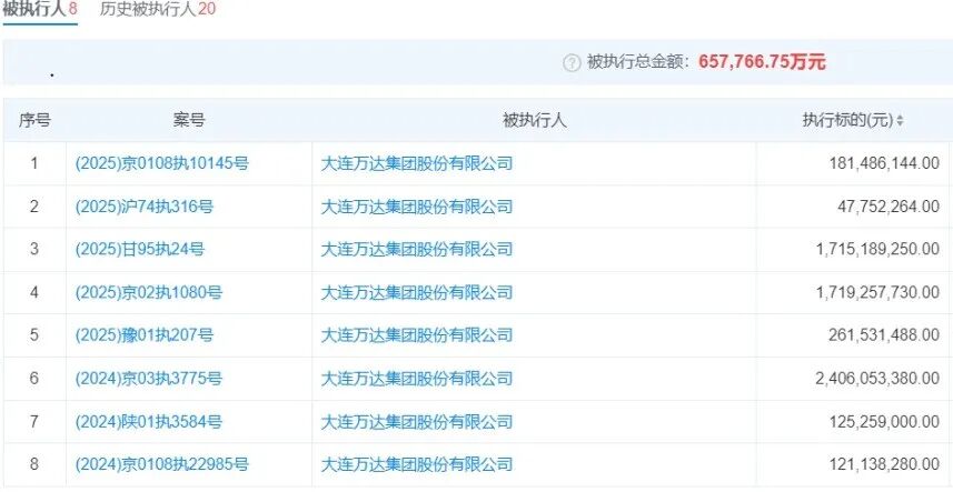
值得注意的是,此前3月20日,天眼查深度风险信息显示,北京万达文化产业集团有限公司新增1条股权冻结信息,被执行人为大连万达集团股份有限公司,冻结股权数额80亿人民币,冻结期限自2025年3月18日至2028年3月17日,执行法院为河南省郑州市中级人民法院。
涉及徐州万达
记者注意到,为缓解债务压力,万达集团2025年已先后出售多个万达广场。

热门内容:
- 徐州市公积金政策重大调整!夫妻最高可贷100万元
- 徐州信息网恭祝全市人民中秋快乐!
- 徐州市住房和城乡建设局某原副局长被判刑!
- 徐州驾校8月份合格率排名出炉!
- 铜山这些校外培训机构被查!
- 不调休!中秋节放假安排来了
- 徐州市常态化开放核酸采样点明细来了!
- 徐州主城区16所公办热门小学启动电脑派位!
- 徐州九顶山野生动物园 9月28日正式开园迎客!
- 徐州第3轮地铁规划
- 徐州又出新政,公积金偿还商贷细则来了!
- 汽车客运南站、汽车客运西站即将终止站务经营
- 2022年徐州最新最全买房、贷款、落户政策
- 移步换景!一起来看看彭城广场新面貌
- 核酸采样小屋,亮相徐州!
- 徐州市居民小区,开始集中整治!
- 徐州市全员核酸检测预约登记系统正式启用
- 被通知集中隔离应该做什么?
- “抄小道”,逃避防疫检查!被处罚!!!
- 徐州加油 坚持,必将胜利!!



